Guía de puerta (engrasar)

Toyota Corolla Foro

Moderador: Achilles

kobayasy
Mensajes: 105
Registrado: 02 Jun 2009 17:15
Coche: corolla e12

Guía de puerta (engrasar)

Mensajepor kobayasy » 18 Abr 2013 16:03

Buenas tardes,

en las puertas de nuestros corollas hay una guía que necesitaba echarles algo ya que me chirrían. Creo que son de plástico, pero no estoy seguro. Me gustaría, si alguien me puede decir que echarle, me imagino que con silicona líquida dejarán de chirriar, pero no estoy seguro.

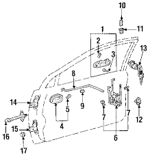
Imagen
En esta imagen sería la pieza nº 16 a la cual le llamo guía. ¿Qué se le echa para que no haga ruido?

salu2
kobayasy

tiolalu
Mensajes: 735
Registrado: 11 Ago 2010 20:47
Coche: Corolla E12

Re: Guía de puerta (engrasar)

Mensajepor tiolalu » 18 Abr 2013 17:36

Yo creo que son de metal. A las puertas, pernos y demás se le pone grasa de litio. Lo que no sé es que efectos tendrá con el plástico. Pero si no le hace nada yo le pondría de eso, porque es una pasta y te aguantará más que cualquier líquido.

kobayasy
Mensajes: 105
Registrado: 02 Jun 2009 17:15
Coche: corolla e12

Re: Guía de puerta (engrasar)

Mensajepor kobayasy » 18 Abr 2013 19:23

Buenas tardes,

probé con aceite normal y hace más ruido. Voy a probar con grasa de litio.
Esa pieza en concreto es metálica pero con recubrimiento plástico.

salu2
kobayasy

tiolalu
Mensajes: 735
Registrado: 11 Ago 2010 20:47
Coche: Corolla E12

Re: Guía de puerta (engrasar)

Mensajepor tiolalu » 18 Abr 2013 19:55

Limpialo antes todo lo que puedas, para eliminar restos de suciedad que puedan quedar.

chapista
Mensajes: 88
Registrado: 08 May 2010 22:02
Coche: toyota starlet kp61,kp60

Re: Guía de puerta (engrasar)

Mensajepor chapista » 22 Abr 2013 09:16

Buenas,esa pieza es el tensor de la puerta,y si te hace ruido es por que tiene óxido donde gira,con un poco de afloja todo se le quita,pero tienes que abrir y cerrar varias veces,para que penetre el líquido.un salu2

tiolalu
Mensajes: 735
Registrado: 11 Ago 2010 20:47
Coche: Corolla E12

Re: Guía de puerta (engrasar)

Mensajepor tiolalu » 26 Abr 2013 10:07

¿Cómo quedó el tema?